- 广州子锐机器人技术有限公司
- 服务热线:020-82000787(8:30-17:30)
- 联系手机:15889988091(非工作时间)
- 座机:020-82000787
- 传真:020-32887675
- 邮箱:gz@zr-robot.com
- 广州市番禺区东环街金山谷创意八街1号109
-
专业FANUC发那科机器人电路板维修
关键词:专业,FANUC,发那科,机器人,电路板,维修,专业,FAN专业FANUC发那科机器人电路板维修 专业FANUC发那科机器人电路板维修 ************************************************************************* 名称:发那科 型号:电路板 数量:长期备有现货 价格:电议【原装正品及二手备件齐全】 优势提供FANUC机器人 ... 阅读更多>>
2017-06-20 -
专业安川机器人JANCD-NCP01电路板维修
关键词:专业,安川,机器人,JANCD-NCP01,电路板,维修,安安川机器人 JANCD-NCP01电路板 维修 安川机器人 JANCD-NCP01电路板 维修 ************************************************************************* 名称:安川机器人电路板 型号:JANCD-NCP01 数量:长期备有现货 价格:电议【原装正品及二手备件齐全】 ... 阅读更多>>
2017-05-27 -
专业快速库卡机器人驱动器KSP 600维修
关键词:专业,快速,库卡,机器人,驱动器,KSP,600维修,库卡,库卡机器人驱动器KSP 600维修常见故障包括: 1、红灯亮/红灯闪烁 2、库卡KSP 600驱动器报警异常维修 3、库卡KSP 600无法启动维修 KUKAKSP 我们追求机器人技术服务的专业化、标准化,注重高效服务和个性化服务,竭力打造优质的广州子锐机器人服务品牌。 库卡 ... 阅读更多>>
2017-04-28 -
专业工业机器人KSP 600-3X64 00-198-269维修
关键词:专业,工业,机器人,KSP,600-3X64,00-198-库卡KSP 600-3X64 /00-198-269维修伺服维修 库卡KSP 600-3X64 /00-198-269维修伺服维修 广州子锐机器人技术有限公司致力于机器人产品维修、销售、研究开发、改造、升级等技术服务的高科技企业,公司拥有大量各种机器人周边易损配件,包括库卡KSP600 00-198-2 ... 阅读更多>>
2017-04-28 -
KUKA机械手维修|库卡机器人轴电压过低故障维修
关键词:KUKA,机械手,维修,库卡,机器人,电压,过低,故障,库卡库卡机器人检测信号线失灵故障维修|KUKA机械手DSE同步出错故障维修,库卡焊接机器人电流过大故障维修,KUKA酷卡机械手散热器温度过高故障维修等服务欢迎致电广州子锐机器人技术有限公司,020-22157924, 手机:13724000724 何先生 ,我们保证100%维修合格。 ... 阅读更多>>
2017-04-28 -
ABB机器人什么是位移坐标系?
关键词:ABB,机器人,什么,位移,坐标系,位移,坐标系,原始,位置位移坐标系 A 原始位置 B 工件坐标系 C 新位置 D 位移坐标系 有时,会在若干位置对同一对象或若干相邻工件执行同一路径。为了避免每次都必须为所有位置编程,可以定义一个位移坐标系。 此坐标系还可与搜索功能结合机器人驱动器使用,以抵消单个部件的位置差 ... 阅读更多>>
2017-04-29 -
ABB机器人工件坐标系的含义
关键词:ABB,机器人,工件,坐标系,含义,工件,坐标系,大地,对应工件坐标系 A 大地坐标系 B 工件坐标系 1 C 工件坐标系 2 工件坐标系对应工件:它定义工件相对于大地坐标系(或其它坐标系)的位置。 工件坐标系必须定义于两个框架:用户框架(与大地基座相关)和工件框架(与用户框架相关)。 ABB机器人可以拥有若干工件坐 ... 阅读更多>>
2017-05-02 -
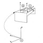
ABB机器人什么是大地坐标系?
关键词:ABB,机器人,什么,大地,坐标系,大地,坐标系,ABB,机大地坐标系 A ABB机器人 1 基坐标系 B 大地坐标系 C ABB机器人 2 基坐标系 大地坐标系在工作单元或工作站中的固定机器人驱动器位置有其相应的零点。这有助于处理若干 个ABB机器人或由外轴移动的ABB机器人。 在默认情况下,大地坐标系与基坐标系是一致的。 ... 阅读更多>>
2017-05-02 -
ABB机器人中什么是坐标系?
关键词:ABB,机器,人中,什么,坐标系,概述,坐标,系从,一个,称概述 坐标系从一个称为原点的固定点通过轴定义平面或空间。ABB机器人目标和位置通过沿坐标系轴的测量来定位。 ABB机器人使用若干坐标系,每一坐标系都适用于特定机器人驱动器类型的微动控制或编程。 1、 基坐标系位于ABB机器人基座。 它是最便于ABB机器人从 ... 阅读更多>>
2017-05-02 -
什么是ABB机器人工件?
关键词:什么,ABB,机器人,工件,图示,说明,工件,拥有,特定,附图示 说明 工件是拥有特定附加属性的坐标系。它主要用于简化编程(因置换特定任务和工件进程等而需要编辑程序时)。 工件坐标系必须定义于两个框架:机器人驱动器用户框架(与大地基座相关)和工件框架(与用户框架相关)。 创建工件可用于简化对工件表面的 ... 阅读更多>>
2017-05-02 -
专业工业机器人3HEA506262-001外部轴电机维修
关键词:专业,工业,机器人,3HEA506262-001,外部,电机ABB机器人3HEA506262-001外部轴电机维修 ABB机器人3HEA506262-001外部轴电机维修 专业ABB机器人伺服电机维修、ABB机器人伺服马达维修,欢迎拨打24小时服务热线020-22157924 13724000724 何先生。 广州安川机电科技有限公司具有先进的检测、维修、加载调试设 ... 阅读更多>>
2017-05-14 -
专业工业机器人MFC2 00-108-766/DSE IBS 3.02智能维修
关键词:专业,工业,机器人,MFC2,00-108-766,DSE,库卡MFC2 00-108-766/DSE IBS 3.02维修 库卡MFC2 00-108-766/DSE IBS 3.02维修 库卡机器人多功能板卡坏了怎么办?有没有库卡多功能板卡MFC2维修公司可以解决问题,或者有可以库卡多功能板卡销售件可以替换,库卡多功能板卡销售维修可以找广州子锐机器人技术 ... 阅读更多>>
2017-05-16












