- 广州子锐机器人技术有限公司
- 服务热线:020-82000787(8:30-17:30)
- 联系手机:15889988091(非工作时间)
- 座机:020-82000787
- 传真:020-32887675
- 邮箱:gz@zr-robot.com
- 广州市番禺区东环街金山谷创意八街1号109
- 当前位置:首页 > 工业机器人维修 > 服务例行程序 LoadIdentify在ABB机器人上有什么作用?
服务例行程序 LoadIdentify在ABB机器人上有什么作用?
时间:2017-04-16 点击: 来源:互联网 作者:匿名
简介:概述 服务例行程序 LoadIdentify 用于自动计算安装于ABB机器人之上的载荷的数据。 您也可以手动输入数据,但所需信息可能难以计算。 如果您要运行有效载荷的载荷测定,请首先确保工具得到正确的定义,例如您可以运行工具的 LoadIdentify。 要运行 LoadIdenti……
概述
服务例行程序 LoadIdentify 用于自动计算安装于ABB机器人之上的载荷的数据。 您也可以手动输入数据,但所需信息可能难以计算。
如果您要运行有效载荷的载荷测定,请首先确保工具得到正确的定义,例如您可以运行工具的 LoadIdentify。
要运行 LoadIdentify,需考虑一些因素。 这些内容将在以下页面中详细介绍。 在本章中您还可以获得错误处理和限制方面的信息。
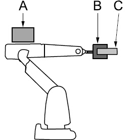
LoadIdentify
A 上臂载荷
B 工具载荷
C 有效载荷
如果要确认质量,仅需执行轴 3 移动。机器人培训这意味着,要测定质量,上臂载荷必须已知,且正确定义。
TAG:
免责声明:本网部分文章和信息来源于互联网,本网转载出于传递更多信息和学习之目的。如转载稿涉及版权等问题,请立即联系网站所有人,我们会予以更改或删除相关文章,保证您的权利。
上一篇:ABB机器人监控功能作用
下一篇:ABB机器人工具载荷前提是什么?
工业机器人维修相关阅读:
扫二维码手机浏览

