- 广州子锐机器人技术有限公司
- 服务热线:020-82000787(8:30-17:30)
- 联系手机:15889988091(非工作时间)
- 座机:020-82000787
- 传真:020-32887675
- 邮箱:gz@zr-robot.com
- 广州市番禺区东环街金山谷创意八街1号109
- 当前位置:首页 > 工业机器人维修 > ABB机器人如何正确关机?
ABB机器人如何正确关机?
时间:2017-03-19 点击: 来源:互联网 作者:匿名
简介:ABB 设计的系统可降低对不正确关机的灵敏度,为此,许多功能也构建进系统中。 但是, ABB 强烈建议您依照以下指示以避免伤害人员、损害设备或者造成不必要的 麻烦,以免费时费力。 关闭系统涉及许多常用操作: 1、ABB机器人应尽可能妥善放置,以免其停止后造……
ABB 设计的系统可降低对不正确关机的灵敏度,为此,许多功能也构建进系统中。
但是, ABB 强烈建议您依照以下指示以避免伤害人员、损害设备或者造成不必要的
麻烦,以免费时费力。
关闭系统涉及许多常用操作:
1、ABB机器人应尽可能妥善放置,以免其停止后造成任何问题。
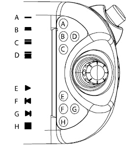
2、通过在 FlexPendant 上按 Stop 按钮来停止程序执行,如图所示。


3、关闭 Control Module 上的主开关。
4、极少需要物理关闭 Drive Module,但如果需要时,关闭 Drive Module 上的主开关。在关闭多个ABB机器人系统时,确保关闭全部 Drive Module 上的主开关。有关特定情形的具体注意事项,请参阅以下各节。
下面的图示显示 FlexPendant 停止按钮:
下面的图示显示 Control Module 主开关:


H STOP 按钮。 停止程序执行。
下面的图示显示 Drive Module 主开关:


TAG:
免责声明:本网部分文章和信息来源于互联网,本网转载出于传递更多信息和学习之目的。如转载稿涉及版权等问题,请立即联系网站所有人,我们会予以更改或删除相关文章,保证您的权利。
工业机器人维修相关阅读:
扫二维码手机浏览
