说明
映射可在特定的映射面上创建程序、模块或例行程序的副本。 映射功能可以应用于任何程序、模块或例行程序。
映射可以通过两种不同的方法完成:
1、 基础框架坐标系上的默认值。 映射过程将在基础框架坐标系的 xz 平面上进行。 特定程序、模块或者例行程序的指令使用过的所有位置和工件框架都将被映射。 定位定向轴 x 和 y 将被映射。
2、 趋近于一个特定的映射框架。 将在一个特定的工件框架的 xy 平面内进行映射操作,影射框架。 映射特定程序、模块和例行程序中的所有位置。 如果指令中的工件变元并非映射对话中的特定变元,影射操作中将会使用指令中的工件。 也可能会确定定位定向系中那两条轴(x 和 z 或者 y 和 z)将机器人驱动器被映射。
以下对映射的描述解释了高级映射。
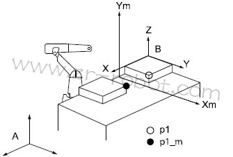
映射面
映射功能将映射映射面中的所有位置 (robtargets),即被映射的位置将被对称的置
于平面的另一面,同原始位置相对应。 映射面总是工件框架的 xy 平面,用于映射。
这一工件框架由工件数据定义,如机器人驱动器名称为 MIRROR_FRAME。


Ym, Xm 映射面
A 大地坐标框
B 工件框架
p1 初始点
p1_m 被映射点

